太疯狂了!
就在12月15日至17日短短3天内,IRCC通过快速通道(Express Entry,EE)连续发出3轮邀请,覆盖加拿大经验类(CEC)、省提名(PNP)、以及法语类别。
3天、3轮、3条通道,总计11,399人收到移民邀请(ITA)。IRCC正在年底前对EE候选池进行“集中清库存”。

图源:拍摄
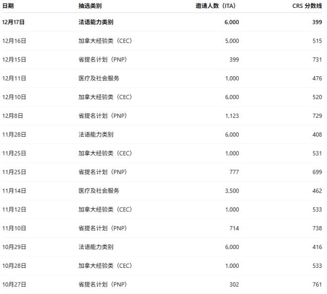
12月17日:法语类别发出6,000份邀请
周三(12月17日),IRCC进行了最新一轮的法语能力类别(French-language proficiency)抽选:
- 邀请人数:6,000人
- CRS最低分:399分
- 入池截止时间:2025年8月24日

12月17日EE法语能力类别抽选
399分,在当前EE体系中属于相当友好的分数线,再次印证了加拿大对法语移民的长期倾斜政策。
从近一年的抽选节奏来看,法语类别,已经成为EE体系中最稳定、最可预期的一条通道之一。
12月16日:CEC分数创新低,5000人获邀
继上周的抽分后,IRCC本周二(12月16日)又进行了一轮加拿大经验类(CEC)抽选:
- 邀请人数:5,000人
- CRS最低分:515分
- 入池截止时间:2025年9月9日

12月16日EE CEC类别抽选
值得一提是,本轮抽分的最低获邀分数515分比上一次(12月10日)降了5分,同时刷新了2025年CEC抽选的最低分数线(此前最低为518分)。
这是两周内的第二次CEC抽选,两轮合计发出了11,000份邀请。
截止12月14日,EE候选池内还有21,792名501-600分的候选人。

在过去一段时间里,CEC常被吐槽“分数高、名额少”,而最近的两轮名额明显放量,分数也大幅下降,彻底打破了此前偏保守的抽选节奏。
12月15日:PNP常规高分抽选
时间再往前一天,本周一(12月15日),IRCC完成了一轮省提名计划(PNP)抽选:
- 邀请人数:399人
- CRS最低分:731分
- 入池截止时间:2025年10月18日

12月15日EE PNP类别抽选
2025年ITA总量:117,998份
截至目前,IRCC在2025年已通过EE系统累计发放117,998份ITA。今年的抽选主要集中在:
- 法语类别:抽签9次,48,000份
- 加拿大经验类(CEC):抽签15次,36,850份
- 省提名(PNP):抽签23次,9,775份
- 优先职业类别:医疗类别抽签6次,13,500份;教育类别抽签2次,3,500份;技工类别抽签1次,1,250份







