No menu items!

    亏惨了!多伦多一套法拍豪宅三次挂牌失败后连零头都没卖到

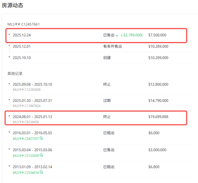
    去年年底,一套位于多伦多的全新豪华住宅在多次挂牌未能售出后,挂牌价从1970万一路降到1029万,最终以750万加元的价格成交,比挂牌价少了1220万,甚至连零头都没卖到,堪称2025年亏损天花板,这也清楚地显示出在当下市场中,买家到底能够将价格谈到多低。

    图源:

    根据的数据,这套位于多伦多Forest Hill社区、拥有4间卧室和7间浴室的住宅,上一次成交是2015年,成交价300万加元。

    图源:googlemap

    这套定制住宅面积超过9100平方英尺,配备了一长串奢华设施,包括配备内置并排3车位车库及加热车道,住宅配备电梯,可直达所有楼层。地下层专为休闲与娱乐而设计,设有45×19英尺吧台、保姆套房、影院预留空间、室内游泳池、热水浴池,以及额外卫生间的预留接口。

    图源:

    该房产于2024年重新挂牌,开价接近1970万加元,但该挂牌在一个月后被终止。随后,该住宅又分别以1480万、1280万以及1029万多次重新挂牌上市。

    多次降价尝试后,尽管挂牌价为1029万加元,这套房屋最终还是在12月以750万加元成交,与一年前最高挂牌价相比,亏损1220万加元。比最后一次挂牌价低了279万,折价幅度达到27%。

    最后,挂牌广告写明,请注意:该房产为法院出售,按现状出售。这大概就是为什么能以如此低价格成交的原因。

    根据加拿大房地产协会最新报告,全国房屋销量在12月环比下降0.6%。新挂牌房源数量环比下降1.6%,MLS房价指数同比下降3.7%。

    全国综合MLS房价指数在2025年10月至11月间也下降了0.4%。报告指出,这表明“一些卖家正在作出价格让步,以促成房产成交”。

    在多伦多方面,多伦多地产局指出,2025年的房屋销量较2024年下降,而同期挂牌库存仍维持在较高水平。这使得“成交价格能够被向下谈判,从而有助于改善可负担性”。

    上个月的平均成交价为1006735加元,较2024年12月下降5.1%。

    热点

    发表评论